最简单的设计构造能申请专利么?小专利的核心商业变现逻辑,先占位再优化!

2026-03-20
来源:


原创 智合奕鑫小魔方 智合奕鑫知产点评社
2026年3月20日 14:58

2025年,澳大利亚骑行爱好者马克的简陋发明震惊业界,当他将自行车后视镜缝在运动腕带上时,没人想到这个简陋设计能垄断全球骑行装备市场三年,仅三年内创造超2000万美元营收。这个仅由镜片+底座+腕带构成的原始结构,却成为专利布局的经典范本。

图片
图片

更令人震惊的是,这项‌仅由3个零件构成‌的专利(镜片+塑料底座+尼龙腕带),竟挡退了Garmin等巨头的仿制围攻。其核心策略在于:用最简结构锁定基础创意,再通过从属权利要求覆盖迭代方向

一个看似简单的创意:直接在运动腕带上缝制镜子,通过最简结构锁定专利。这个案例特别有启发性,它展示了专利布局的核心策略:先用基础结构(镜子+底座+腕带)抢占核心创意,后续优化再逐步补充权利要求。

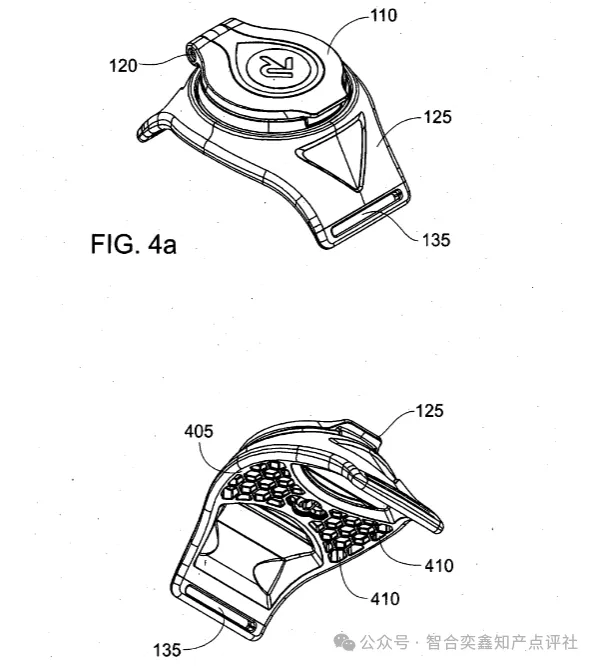
展示的发明专利更侧重机械结构,采用滑槽+锁扣的设计让表盘和镜面可以上下滑动切换。这种方案比较传统,但实现了物理层面的功能分区。

同时这个设计申请的实用新型专利则突出了可旋转调节的球铰结构,还增加了发光安全警示功能。这种设计在夜间骑行场景下更有优势,旋转机构解决了视角调节问题。

图片

需要强调几个关键差异:核心结构(固定式/滑动式/旋转式)、调节机制(物理卡扣/万向节/球铰)、附加功能(背光/指示灯)等。特别是中提到的专利策略很值得借鉴——先申请基础结构再迭代优化,这样既能快速占位又能扩大保护范围。

马克的初代专利仅描述“可佩戴于手腕的后视镜结构”,未限定连接方式与材质。这种模糊化表述为后续升级预留空间:

  • 第二代产品增加球铰链调节机构,通过从属权利要求保护;

  • 第三代叠加LED重力感应警示灯,形成新专利“子专利池”。

    图片

二、简单结构的专利化核心法则

  1. 最小化单元锁定
    独立权利要求聚焦基础要素组合(如“镜片-基座-腕带”三要素),避免描述具体工艺参数。例如专利权利要求书表述:

    “一种手腕佩戴式后视装置,其特征在于包括反射面、连接体及固定带”

  2. 问题导向型创新

    • 传统车载后视镜依赖电力驱动,而腕戴式方案采用无源机械结构(如球铰链阻尼),解决骑行场景供电难题;

    • 镜面曲率设计突破光学定律:半径80mm凸面镜可使后方视野扩大至120°,远超平面镜60°极限。

  3. 防御性公开策略
    在说明书中预埋技术扩展路径:

    “所述基座可集成光敏传感器或震动马达”
    此举既阻断竞争对手改进方向,又不影响首案授权率。

    图片

三、专利丛林中的破局之道

当某国际运动品牌推出“磁吸式可拆卸腕镜”时,马克团队发起专利诉讼。其致胜关键在于:

  1. 证据链构建
    出示早期实验录像:磁吸结构在时速30km/h震动中脱落概率达67%,证明球铰链结构的必要性;

  2. 技术效果对比
    第三方测试报告显示:旋转式结构调节耗时仅0.5秒,比滑动式快3倍,满足骑行突发状况需求;

  3. 成本壁垒打击
    公开球铰链量产工艺:钛合金阻尼件成本降至$0.8/个,迫使对手放弃仿制。


    马克团队最新财报显示:‌首份专利衍生出17个子专利‌,创造产品线年营收$3700万。这印证了知识产权领域的黄金法则:


    “‌不是有了市场才专利,而是有了专利才有市场‌”


结尾抛个问题:小编查阅资料注意到,早在2015年前国内就有类似设计申请却未能发酵迭代升级成商业典范,这是个很有意思的研究方向!

图片
图片
图片


下一篇:这是最后一篇
上一篇:这是**篇
写下您的评论吧